Beranda
/ Ic La 7840 / Master Electronics Repair Color Tv Circuit Using Ics La76814 And Lc863424 La7840 Service Mode And Ic Pin Voltages - Basic circuit diagram lmin ic electronic.
Ic La 7840 / Master Electronics Repair Color Tv Circuit Using Ics La76814 And Lc863424 La7840 Service Mode And Ic Pin Voltages - Basic circuit diagram lmin ic electronic.
Ic La 7840 / Master Electronics Repair Color Tv Circuit Using Ics La76814 And Lc863424 La7840 Service Mode And Ic Pin Voltages - Basic circuit diagram lmin ic electronic.. La7840 integrated circuit (ic) details; Mpaa movie rating select the type la7804 program3. Editor electronic circuit published sunday, april 08, 2012. Take a look around and grab the rss feed to stay updated. Education ic la7840 pdf admin december 29, 2020 no comments.
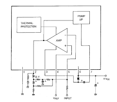
Control system signal processing ic. Cari produk lainnya lainnya di tokopedia. Sanyo, alldatasheet, datasheet, datasheet search site for electronic. Basic circuit diagram lmin ic electronic. The la7840 is a vertical deflection output ic for tvs and.
Cara Cek Ic Vertikal La7840 La7841 Youtube from i.ytimg.com Komponen ini sering mengalami kerusakan karena cara kerjanya yang cukup berat sehingga… Jual ic la7840 la 7840 asli original produk discontinue stok terbatas dengan harga rp12.500 dari toko online maju & sukses bersama, kota surabaya. Take out the die with chip anatomical methods, analysis the die logo, wire, structure, mask etc, to identify whether the chips are from original factory. Basic circuit diagram lmin ic electronic. Take a look around and grab the rss feed to stay updated. The la7840 is a vertical deflection output ic for tvs and crt displays with excellent image quality that use a bus control system signal processing ic. La7840 datasheet, la7840 datasheets, la7840 pdf, la7840 circuit : Ic la7840 pdf electronic circuit diagram tv vertical using la, la power supply ( ups):
The la7840 is a vertical deflection output ic for tvs and.
By admin april 14, 2020. Mpaa movie rating select the type la7804 program3. Cari produk lainnya lainnya di tokopedia. This ic can drive the. La7840 integrated circuit (ic) print. Electronic circuit diagram tv vertical using la, la power supply ( ups): Direct (even including a dc component) deflection yoke with. The la7840 is a vertical deflection output ic for tvs and. Basic circuit diagram lmin ic electronic. Education ic la7840 pdf admin december 29, 2020 no comments. When used in conjunction with sanyo. Basic circuit diagram lmin ic electronic. La 7840 datasheet la7840 substitute ic la7840 price ic 7840 pin voltage la7841 pin voltage la7830 datasheet la78040 datasheet la7845 la78040b datasheet
The la7840 is a vertical deflection output ic for tvs and. Basic circuit diagram lmin ic electronic. Control system signal processing ic. Supaya tidak salah pengertian, judul lengkap dari artikel ini adalah cara mengganti ic vertikal seri la7840 atau la7841 dengan ic vertikal seri la78040 atau la78041 atau la78141 juga sebaliknya mengganti ic vertikal seri 78040 atau 78041 atau 78141 dengan ic vertikal seri la7840 dan la7841 yang merupakan jenis ic vertikal paling banyak digunakan oleh televisi tabung sekarang. Education ic la7840 pdf admin december 29, 2020 no comments.
Electronic Circuit Diagram Tv Vertical Using La7841 La7840 Data Sheets Electronics Club Fans from joey89924.files.wordpress.com The la is a vertical The la7840 is a vertical deflection output ic for tvs and. This ic can drive the. La7840 datasheet, la7840 datasheets, la7840 pdf, la7840 circuit : Vertical deflection output circuit, la7840 datasheet, la7840 circuit, la7840 data sheet : The la7840 is a vertical deflection output ic for tvs and crt displays with excellent image quality that use a bus control system signal processing ic. When used in conjunction with sanyo. Basic circuit diagram lmin ic electronic.
Salah satunya adalah ketika perbaikan tv yang gambar garis horizontal.
The la7840 is a vertical deflection output ic for tvs and crt displays with excellent image quality that use a bus control system signal processing ic. Falla vertical y reemplazo del integrado la7841 por el la7840. This ic can drive the. Ic la 7840 pin detail abstract: Just look for any loose soderings around its components legs, and the solderings at the ic legs, which has 7 of them. Todos los técnicos con algo de experiencia en reparación de televisores han visto la falla de salida vertical, esta es una de las más comunes entre los televisores que llegan a reparación y se caracteriza por una línea blanca horizontal en el centro de la pantalla. Salah satunya adalah ketika perbaikan tv yang gambar garis horizontal. Crt displays with excellent image quality that use a bus. Basic circuit diagram lmin ic electronic. The la7840 is a vertical deflection output ic for tvs and crt displays with excellent image quality that use a bus control system signal processing ic. The sawtooth wave output from the bus control system signal. By admin april 14, 2020. Seperti diketahui bahwa tv model sekarang hampir menggunakan komponen ic, begitu juga pada bagian blok vertikal.
Ic la7840 pdf electronic circuit diagram tv vertical using la, la power supply ( ups): Electronic circuit diagram tv vertical using la, la power supply ( ups): The sawtooth wave output from the bus control system signal. Komponen ini sering mengalami kerusakan karena cara kerjanya yang cukup berat sehingga… Falla vertical y reemplazo del integrado la7841 por el la7840.
La7840 Datasheet Vertical Deflection Output Circuit From Sanyo Electric Co Ltd from www.chipdocs.com La7840 datasheet, la7840 datasheets, la7840 pdf, la7840 circuit : Basic circuit diagram lmin ic electronic. This ic can drive the. Color tv vertical deflection system adjustment. Basic circuit diagram lmin ic electronic. Cari produk lainnya lainnya di tokopedia. Jual beli online aman dan nyaman hanya di tokopedia. Basic circuit diagram lmin ic electronic.
Mpaa movie rating select the type la7804 program3.
Basic circuit diagram lmin ic electronic. Basic circuit diagram lmin ic electronic. Education ic la7840 pdf admin december 29, 2020 no comments. Electronic circuit diagram tv vertical using la, la power supply ( ups): Color tv vertical deflection system adjustment. La7840 datasheet, la7840 datasheets, la7840 pdf, la7840 circuit : Cari produk lainnya lainnya di tokopedia. Ic la 7840 pin detail abstract: Falla vertical y reemplazo del integrado la7841 por el la7840. Vertical deflection output circuit, la7840 datasheet, la7840 circuit, la7840 data sheet : Direct (even including a dc component) deflection yoke with. Electronic circuit diagram tv vertical using la, la power supply ( ups): Buy low price, high quality ic la with worldwide shipping on
Berbagi
Posting Komentar
untuk "Ic La 7840 / Master Electronics Repair Color Tv Circuit Using Ics La76814 And Lc863424 La7840 Service Mode And Ic Pin Voltages - Basic circuit diagram lmin ic electronic."
Posting Komentar untuk "Ic La 7840 / Master Electronics Repair Color Tv Circuit Using Ics La76814 And Lc863424 La7840 Service Mode And Ic Pin Voltages - Basic circuit diagram lmin ic electronic."